Versione italiana o inglese della scheda 

 
2834GL - ELEMENTI DI FISSAGGIO RAPIDO IN ACCIAIO INOSSIDABILE - Prod. SCU - Orig. AMF2834GL - ELEMENTI DI FISSAGGIO RAPIDO IN ACCIAIO INOSSIDABILE - Prod. SCU - Orig. AMF

Salva foto in alta risoluzione

   

 Stampa la scheda
 Invia la scheda

 Apri la pagina del catalogo
 Vai ai prodotti di pag.

Prodotto precedente Prodotto precedente
Prodotto successivo Prodotto successivo

2834GL  

Prod. SCU - Orig. AMF

 

ELEMENTI DI FISSAGGIO RAPIDO IN ACCIAIO INOSSIDABILE

INOX clamping devices

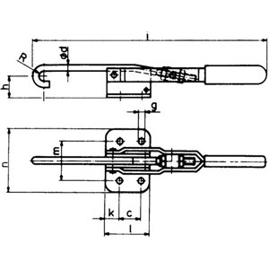
Dispositivi di serraggio sicuri e costanti di elevata qualità. Funzionamento a doppia leva, che non permette lo sganciamento in fase di tenuta. In acciaio inossidabile con impugnatura resistente agli olii e agli acidi, con bussole di supporto temprate e rettificate. Completi di vite e puntale in resistente gomma dura. Indicati per industrie chimiche, alimentari, dove occorrono speciali condizioni igieniche, dove l’utilizzo è critico a causa delle sfavorevoli condizioni climatiche, dove si utilizzano liquidi di raffreddamento particolarmente aggressivi. Forza min. e max (F1-F2) espressa in Newton (N).

Tipo a tirante filettato, base piana.

 Aggiungi al carrello  

NoteCod. Art.Cad.Cod. Prod.Grandezza
Forza max F2
N
Corsa tirante
mm
Ingombro verticale chiuso
mm
Ingombro orizz. chiuso (i)
mm
Peso
grammi
Peso ArtQTAMIN
2834GL 1€ 129,00 110005331481000,10
2834GL 3€ 139,00 3150012362422700,270
2834GL 5€ 229,00 5250012703208500,850
 

News